W procesie nanoszenia (natryskiwania) płomieniowego zachodzi jednocześnie: rozpylanie i przenoszenie tworzywa sproszkowanego, lub rzadziej w stanie plastycznym, w strumieniu gazu i ciepła z pistoletu nanoszącego (natryskowego) na powierzchnię przedmiotu, nagrzewanie warstwy powierzchniowej przedmiotu, stapianie tworzywa i łączenie adhezyjne z materiałem przedmiotu oraz kohezyjne ze sobą, a następnie zestalanie lub utwardzanie tworzywa i ochładzanie przedmiotu z naniesioną powłoką. Źródłem ciepła stapiającego tworzywo i nagrzewającego przedmiot jest płomień powstający podczas spalania gazu palnego.

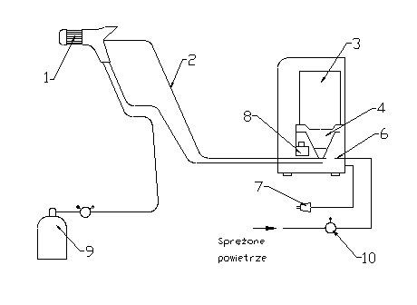
Schemat urządzenia do nanoszenia płomieniowego:
1 - pistolet nanoszący , 2 - przewód doprowadzający tworzywo w strumieniu sprężonego powietrza , 3 - zbiornik tworzywa , 4 - lej , 5 - inżektor , 6 - dysza , 7 - włącznik elektryczny , 8 - wibrator ułatwiający zabieranie tworzywa , 9 - butla gazu palnego , 10 - reduktor


