Łącząc nanoszenie fluidyzacyjne i elektrostatyczne w jeden proces otrzymuje się nanoszenie fluidyzacyjno-elektrostatyczne. Przeprowadza się je w zasadniczej części za pomocą fluidyzatora elektrostatycznego, zawierającego pojemnik wykonany z materiału nieprzewodzącego prądu elektrycznego, w którym za pomocą elektrod umieszczonych w złożu fluidalnym następuje elektryzowanie cząstek tworzywa. Cząstki unoszą się w strumieniu gazu i dzięki ładunkowi elektrycznemu są przyciągane przez przedmiot zanurzony w złożu i uziemiony. Ciąg dalszy postępowania jest taki, jak w przypadku nanoszenia fluidyzacyjnego i elektrostatycznego. Do głównych zalet omawianego nanoszenia zalicza się efektywne nanoszenie powłok z tworzyw o małym napięciu powierzchniowym, np. z PTFE, wyeliminowanie nagrzewania przedmiotu przed wprowadzeniem do fluidyzatora oraz niewystępowanie strat proszku, natomiast do wad -nadmierne ukierunkowanie cząstek powodujące tworzenie się grubszych powłok na powierzchni przedmiotu zwróconej ku elektrodzie oraz trudności w uzyskaniu równomiernego pola elektrycznego w całym przekroju poprzecznym fluidyzatora.

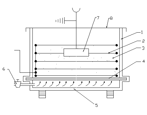
Schemat fluidyzatora elektrostatycznego:
1 - pojemnik , 2 - elektrody , 3 - złoże fluidalne , 4 - dno porowate , 5 - dno lite , 6 - zawór do gazu , 7 - przedmiot, na który nanosi się tworzywo , 8 - pokrywa


