Tę technikę zgrzewania mozna stosować wówczas, gdy w strefie łączenia może być umieszczony przewodnik elektryczny, który nagrzewa się w zmiennym polu magnetycznym. Wokół przewodnika tworzywo ulega uplastycznieniu wskutek przewodzenia ciepła od niego do tworzywa. Wadą tej odmiany zgrzewania jest m.in. pozostawanie przewodnika w obszarze zgrzeiny.

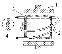
Zasada zgrzewania indukcyjnego:
1-płyty dociskowe, 2-cewka indukcyjna, 3-pierścień metalowy, 4-przedmiot zgrzewany


