Nazywane często zgrzewaniem oporowym lub zgrzewaniem metodą gorącej elektrody. Metoda ta polega na dociśnięciu elementów nagrzaną listwą do zimnego podłoża lub na ściśnięciu elementów między dwiema nagrzanymi listwami. Jest to jedna z najbardziej rozpowszechnionych metod łączenia folii. Niekiedy stosuje się elementy grzejne w postaci noży, taśm lub drutów. Temperatura elementu grzejnego zależy od rodzaju spajanej folii i wynosi 300 - 400oC. W miejscu przecięcia folii powstaje charakterystyczne zgrubienie zapewniające dobrą wytrzymałość złącza.

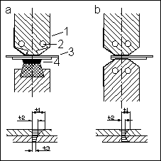
Schemat oraz rozkład temperatury w łączonych foliach podczas zgrzewania kontaktowego:
a) ogrzewanie jedną elektrodą b) dwiema elektrodami, 1-elektroda, 2-elementy grzejne, 3-podkładka z PTFE, 4-podkładka z gumy;
t1-temperatura elektrod, t2-temperaturą zgrzewania, t3-najniższa temperatura folii


